Westerbeke Logo
 

 

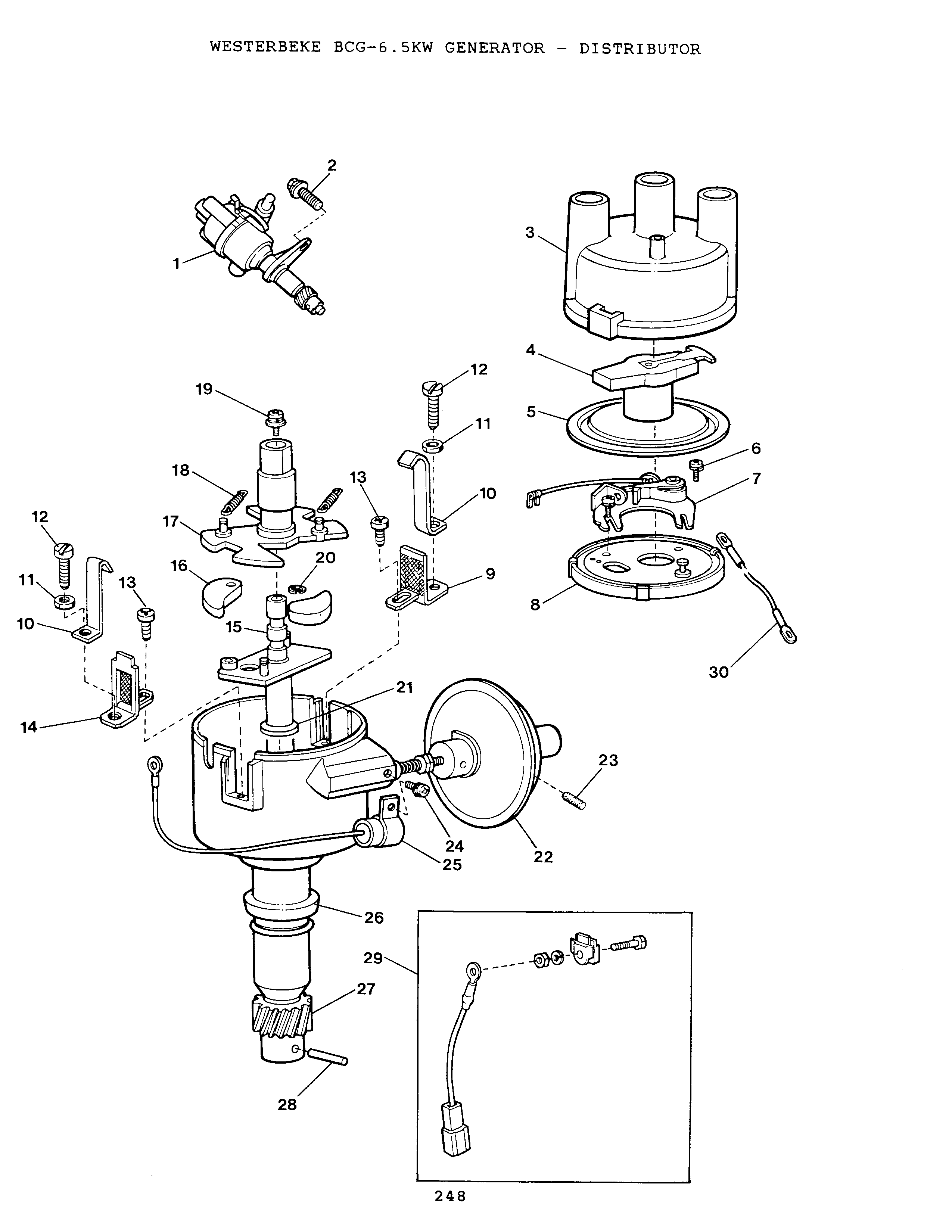
6.5 BCG - DISTRIBUTOR

Click the (+) and (-) buttons to zoom in and zoom out

Click on the name of any part to see details and important notes

Parts

1-1

On Diagram

DISTRIBUTOR

Part #: 035447
$437.70
QTY:

Sold By: EA

1-2

On Diagram

DISTRIBUTOR

Part #: 036178

This part is no longer available.

$647.50
QTY:

Sold By: EA

2

On Diagram

CAPSCREW

Part #: 035781
$13.70
QTY:

Sold By: EA

3

On Diagram

CAP

Part #: 035608
$163.70
QTY:

Sold By: EA

4

On Diagram

ROTOR

Part #: 035609

This part is replaced with part number 042201

Price not found
QTY:

Sold By: EA

5

On Diagram

COVER

Part #: 035617
$15.10
QTY:

Sold By: EA

6

On Diagram

SCREW M 4x 5 DIN 7985A

Part #: 035744
$4.10
QTY:

Sold By: EA

7

On Diagram

CONTACT SET

Part #: 035740
$25.10
QTY:

Sold By: EA

8

On Diagram

WIRE

Part #: 035742
$28.90
QTY:

Sold By: EA

9

On Diagram

PLATE

Part #: 035741
$242.90
QTY:

Sold By: EA

10

On Diagram

RING

Part #: 035745
$3.00
QTY:

Sold By: EA

11

On Diagram

BRACKET

Part #: 035174

This part is no longer available.

Price not found
QTY:

Sold By: EA

12

On Diagram

SCREW

Part #: 035672

This part is no longer available.

$2.10
QTY:

Sold By: EA

13

On Diagram

CLAMP

Part #: 035168

This part is no longer available.

Price not found
QTY:

Sold By: EA

14

On Diagram

LOCKWASHER 8 MED SS

Part #: 031844
$0.30
QTY:

Sold By: EA

15

On Diagram

SCREW M 4 X 12 DIN 84A

Part #: 031924
$0.40
QTY:

Sold By: EA

16-1

On Diagram

GOVERNOR

Part #: 035613

This part is no longer available.

$174.00
QTY:

Sold By: EA

16-2

On Diagram

GOVERNOR

Part #: 036160

This part is no longer available.

$289.20
QTY:

Sold By: EA

23-1

On Diagram

THRUSTWASHER

Part #: 035674

This part is no longer available.

$2.90
QTY:

Sold By: EA

23-2

On Diagram

THRUSTWASHER

Part #: 035675

This part is no longer available.

$6.80
QTY:

Sold By: EA

23-3

On Diagram

THRUSTWASHER

Part #: 035676

This part is no longer available.

$6.80
QTY:

Sold By: EA

23-4

On Diagram

THRUSTWASHER

Part #: 035678

This part is no longer available.

$6.40
QTY:

Sold By: EA

23-5

On Diagram

THRUSTWASHER

Part #: 036164

This part is no longer available.

$3.80
QTY:

Sold By: EA

23-6

On Diagram

THRUSTWASHER

Part #: 036163
$3.80
QTY:

Sold By: EA

24

On Diagram

TERMINAL

Part #: 035743

This part is no longer available.

Price not found
QTY:

Sold By: EA

25

On Diagram

BRACKET

Part #: 035175
$39.80
QTY:

Sold By: EA

26

On Diagram

O-RING

Part #: 035677

This part is no longer available.

$22.90
QTY:

Sold By: EA

27

On Diagram

WASHER

Part #: 035679

This part is no longer available.

$3.60
QTY:

Sold By: EA

28

On Diagram

GEAR

Part #: 035618
$127.20
QTY:

Sold By: EA

30

On Diagram

SCREW

Part #: 035673

This part is no longer available.

$1.40
QTY:

Sold By: EA

31

On Diagram

CONDENSER

Part #: 035680
$72.80
QTY:

Sold By: EA

32-1

On Diagram

MODULE

Part #: 035619

This part is no longer available.

$117.00
QTY:

Sold By: EA

32-2

On Diagram

MODULE

Part #: 036161

This part is no longer available.

$198.00
QTY:

Sold By: EA

33-1

On Diagram

CAP

Part #: 033885
$0.40
QTY:

Sold By: EA

33-2

On Diagram

CAP

Part #: 033885
$0.40
QTY:

Sold By: EA